menu
menu
Automotriz

La última patente de Toyota da pistas sobre su nueva plataforma para eléctricos que llegará en 2028

Fran Romero
23/02/2026 07:00:00
La última patente de Toyota da pistas sobre su nueva plataforma para eléctricos que llegará en 2028
El futuro eléctrico de la marca japonesa podría no pasar por las plataformas planas de tipo patineta. Toyota / UPSTO

Supuestamente, en dos años, Toyota presentará una nueva plataforma para coches eléctricos olvidando la de los bZ. La marca nipona prometió esta arquitectura para 2028, por lo que esta patente filtrada puede ser la de una de sus cualidades para solventar los problemas de espacio en el interior.

Cuando Toyota presentó su primer coche eléctrico de nueva generación, no tardó demasiado tiempo en darse cuenta de que no estaba a la altura de otros rivales del mercado y, especialmente de Tesla. Eso no le ha impedido retirarse de la contienda, sino que ha aprovechado para lanzar nuevos modelos más allá del bZ4X al que recientemente ha mejorado, pero sí que prometió que, en 2028, lanzaría una nueva plataforma más capaz en todos los sentidos.

Dos años le quedan por delante para presentar su nueva arquitectura para coches eléctricos, de la que nada se sabe al respecto. Pero, Toyota, que siempre está en el candelero, vuelve a ser noticia tras la última filtración de una patente del registro de Estados Unidos. Un interesante documento en el que refleja la solución para uno de los grandes problemas de los coches eléctricos: la habitabilidad y el espacio en el interior. Disponer de una elevada autonomía implica montar baterías de gran capacidad, y para eso cuanto mayor sea la distancia entre ejes, mejor.

Toyota patente

Toyota soluciona el problema del espacio en los eléctricos condicionado por las baterías

Pero cuando las baterías son más pequeñas, hay que recurrir a soluciones que no gustan a todos. Por ejemplo, a la del ID.3 con mayor autonomía, que cuenta con unos módulos extras que elevan los asientos traseros. Eso, para algunos fabricantes es una chapuza. Un problema como al que se puede enfrentar Toyota con determinados coches eléctricos, y al que esta patente filtrada pone remedio al replantear cómo se ordenan los componentes debajo del suelo para recuperar espacio interior.

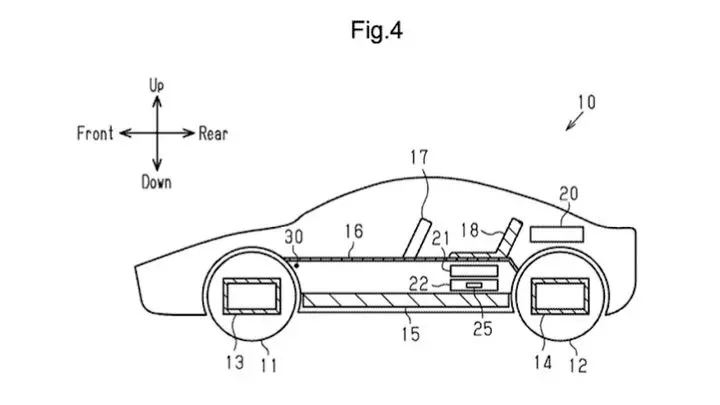
La nueva plataforma para coches eléctricos de Toyota debería llegar en 2028, y se espera que sea estándar para desarrollar todo tipo de carrocerías, fácilmente, sin empezar desde cero para un SUV, compacto, sedán o deportivo. El espacio no es un problema en los SUV pero sí en los deportivos, el estilo que se muestra en la patente. La marca nipona respeta la idea de instalar la batería en el suelo, pero los componentes electrónicos se trasladan al área entre los asientos delanteros, lo que no implica tener un túnel de transmisión.

Los japoneses están convencidos de los beneficios de esta configuración, que no sólo protege a los componentes electrónicos más sensibles, sino que también tiene otras ventajas añadidas. Por ejemplo, la longitud de algunos cables de alimentación se pueden recortar, lo que significa menor peso. Instalar los asientos en una posición más baja no sólo mejora el centro de gravedad y, por tanto la dinámica de conducción.

Toyota patente

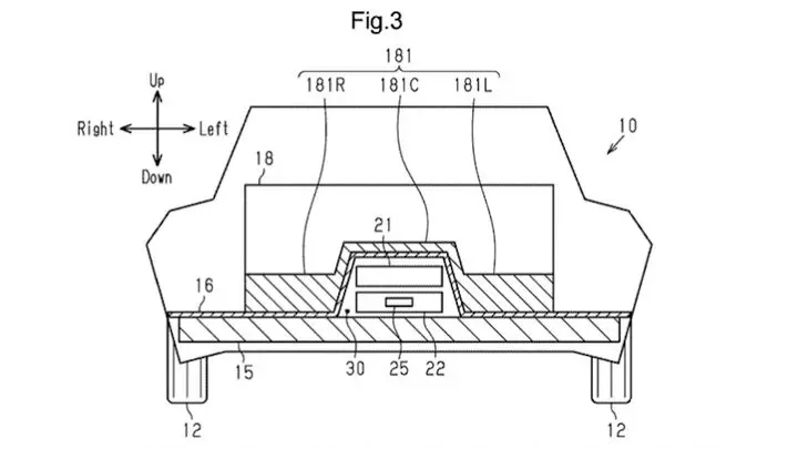
Túneles de transmisión ficticios en los eléctricos de Toyota

Pero esta solución tiene más opciones de pasar a producción que el cambio de marchas virtualmente simulado, pues tiene una interesante similitud con la patente de la batería móvil de Nissan. Mover los componentes también modifica la distribución del peso, influyendo en las sensaciones de conducción.

También, redunda en un mayor espacio para las cabezas o para las piernas de la segunda fila o una distribución de carga más flexible, muy útil en eléctricos familiares como el bZ4X Touring que aún no se ha puesto a la venta. Por ahora, es sólo una patente, por lo que tiene tantas posibilidades de hacerse realidad como de queda olvidada para siempre.

por Motor.es